
中证智能财讯 新华医疗(600587)10月25日披露2023年三季报。2023年前三季度,公司实现营业总收入73.17亿元,同比增长10.02%;归母净利润5.79亿元,同比增长37.80%;扣非净利润5.55亿元,同比增长27.89%;经营活动产生的现金流量净额为2.88亿元,上年同期为-5373.68万元;报告期内,新华医疗基本每股收益为1.29元,加权平均净资产收益率为8.50%。

公告显示,公司前三季度营业收入变化主要由于本期医疗器械、制药装备产品收入增长。
以10月24日收盘价计算,新华医疗目前市盈率(TTM)约为15.65倍,市净率(LF)约为1.43倍,市销率(TTM)约为1.04倍。

公司近年市盈率(TTM)、市净率(LF)、市销率(TTM)历史分位图如下所示:



根据三季报,公司第三季度实现营业总收入22.44亿元,同比增长1.29%,环比下降14.82%;归母净利润1.2亿元,同比增长22.88%,环比下降54.24%;扣非净利润1.44亿元,同比增长76.04%,环比下降36.95%。

半年报显示,新华医疗已形成聚焦医疗器械和制药装备两大核心业务,以医疗商贸、医疗服务为延伸的“2+2”的业务结构。
2023年前三季度,公司毛利率为27.68%,同比上升1.74个百分点;净利率为8.28%,较上年同期上升1.82个百分点。从单季度指标来看,2023年第三季度公司毛利率为28.31%,同比上升2.86个百分点,环比下降0.20个百分点;净利率为5.71%,较上年同期上升1.23个百分点,较上一季度下降4.75个百分点。

数据显示,2023年前三季度公司加权平均净资产收益率为8.50%,较上年同期增长0.31个百分点;公司2023年前三季度投入资本回报率为7.96%,较上年同期增长1.10个百分点。

2023年前三季度,公司经营活动现金流净额为2.88亿元,同比增加3.42亿元,主要系公司医疗商贸板块经营活动产生的现金流量净额增加所致;筹资活动现金流净额9.40亿元,同比增加8.51亿元;投资活动现金流净额-4.37亿元,上年同期为-1.71亿元。
进一步统计发现,2023年前三季度公司自由现金流为-5.03亿元,上年同期为-2.72亿元。

2023年前三季度,公司营业收入现金比为104.79%,净现比为49.76%。

2023年前三季度,公司期间费用为13.36亿元,较上年同期增加1.26亿元;期间费用率为18.26%,较上年同期上升0.07个百分点。其中,销售费用同比增长14.58%,管理费用同比增长3.47%,研发费用同比增长20.11%,财务费用同比下降53.96%。

资产重大变化方面,截至2023年三季度末,公司货币资金较上年末增加40.05%,占公司总资产比重上升3.29个百分点;在建工程较上年末增加100.48%,占公司总资产比重上升1.86个百分点;固定资产较上年末增加2.83%,占公司总资产比重下降1.35个百分点;长期股权投资较上年末增加1.32%,占公司总资产比重下降1.13个百分点。

负债重大变化方面,截至2023年三季度末,公司短期借款较上年末减少19.39%,占公司总资产比重下降2.13个百分点;应付票据较上年末减少35.88%,占公司总资产比重下降1.73个百分点;合同负债较上年末增加7.50%,占公司总资产比重下降0.61个百分点;应付职工薪酬较上年末减少23.90%,占公司总资产比重下降0.74个百分点。

在偿债能力方面,公司2023年三季度末资产负债率为47.25%,相比上年末下降8.05个百分点;有息资产负债率为6.79%,相比上年末下降2.19个百分点。

2023年前三季度,公司流动比率为1.32,速动比率为0.79。

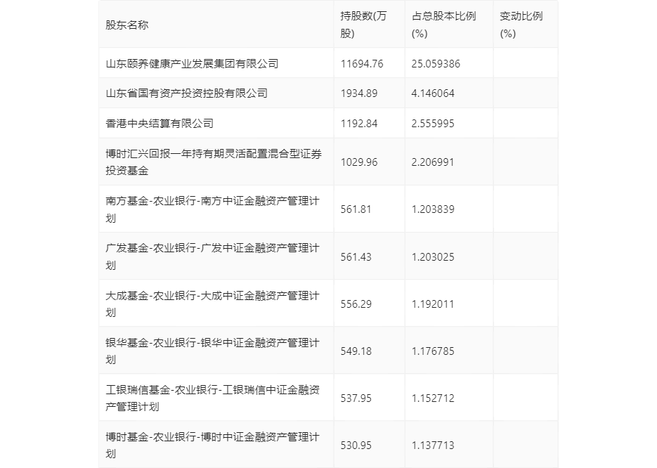
三季报显示,2023年三季度末公司十大流通股东中,新进股东为博时基金-农业银行-博时中证金融资产管理计划,取代了上半年末的中欧医疗健康混合型证券投资基金。在具体持股比例上,山东颐养健康产业发展集团有限公司、山东省国有资产投资控股有限公司、香港中央结算有限公司、博时汇兴回报一年持有期灵活配置混合型证券投资基金、南方基金-农业银行-南方中证金融资产管理计划、广发基金-农业银行-广发中证金融资产管理计划、大成基金-农业银行-大成中证金融资产管理计划、银华基金-农业银行-银华中证金融资产管理计划、工银瑞信基金-农业银行-工银瑞信中证金融资产管理计划持股有所上升。

筹码集中度方面,截至2023年三季度末,公司股东总户数为2.48万户,较上半年末增长了8958户,增幅56.69%;户均持股市值由上半年末的104.38万元下降至48.31万元,降幅为53.72%。

指标注解:
市盈率
=总市值/净利润。当公司亏损时市盈率为负,此时用市盈率估值没有实际意义,往往用市净率或市销率做参考。
市净率
=总市值/净资产。市净率估值法多用于盈利波动较大而净资产相对稳定的公司。
市销率
=总市值/营业收入。市销率估值法通常用于亏损或微利的成长型公司。
文中市盈率和市销率采用TTM方式,即以截至最近一期财报(含预报)12个月的数据计算。市净率采用LF方式,即以最近一期财报数据计算。
市盈率为负时,不显示当期分位数,会导致折线图中断。