
中证智能财讯 首创环保(600008)8月26日披露2023年半年度报告。2023年上半年,公司实现营业总收入88.38亿元,同比下降10.97%;归母净利润7.57亿元,同比下降11.63%;扣非净利润7.43亿元,同比增长0.05%;经营活动产生的现金流量净额为10.97亿元,同比下降19.50%;报告期内,首创环保基本每股收益为0.1031元,加权平均净资产收益率为2.66%。

以8月25日收盘价计算,首创环保目前市盈率(TTM)约为7.23倍,市净率(LF)约为0.77倍,市销率(TTM)约为1.05倍。

公司近年市盈率(TTM)、市净率(LF)、市销率(TTM)历史分位图如下所示:



根据半年报,公司第二季度实现营业总收入44.95亿元,同比下降13.62%,环比增长3.52%;归母净利润4.33亿元,同比下降20.25%,环比增长33.48%;扣非净利润4.3亿元,同比下降2.69%,环比增长37.68%。

分产品来看,2023年上半年公司主营业务中,污水水处理业务收入29.07亿元,同比增长9.96%,占营业收入的32.90%;固废处理业务收入21.28亿元,同比下降44.55%,占营业收入的24.08%;供水水处理业务收入14.83亿元,同比增长7.20%,占营业收入的16.78%。
2023年上半年,公司毛利率为35.04%,同比上升0.04个百分点;净利率为11.86%,较上年同期下降0.42个百分点。从单季度指标来看,2023年第二季度公司毛利率为36.17%,同比下降1.48个百分点,环比上升2.29个百分点;净利率为13.76%,较上年同期下降1.51个百分点,较上一季度上升3.86个百分点。

分产品看,污水水处理业务、固废处理业务、供水水处理业务2023年上半年毛利率分别为38.67%、34.15%、32.84%。
数据显示,2023年上半年公司加权平均净资产收益率为2.66%,较上年同期下降0.50个百分点;公司2023年上半年投入资本回报率为2.07%,较上年同期下降0.10个百分点。

2023上半年,公司经营活动现金流净额为10.97亿元,同比下降19.50%;筹资活动现金流净额9.75亿元,同比减少2.84亿元;投资活动现金流净额-25.57亿元,上年同期为-38.38亿元。
进一步统计发现,2023年上半年公司自由现金流为-25.16亿元,上年同期为-101.19亿元。

2023年上半年,公司营业收入现金比为84.17%,净现比为144.85%。

营运能力方面,2023年上半年,公司总资产周转率为0.08次,上年同期为0.09次(2022年上半年行业平均值为0.12次,公司位居同行业39/53);固定资产周转率为1.44次,上年同期为1.47次(2022年上半年行业平均值为1.71次,公司位居同行业22/53);公司应收账款周转率、存货周转率分别为0.83次、4.22次。

2023年上半年,公司期间费用为16.36亿元,较上年同期减少3.51亿元;期间费用率为18.51%,较上年同期下降1.51个百分点。其中,销售费用同比增长8.08%,管理费用同比下降20.91%,研发费用同比下降9.97%,财务费用同比下降16.22%。

资产重大变化方面,截至2023年二季度末,公司无形资产较上年末减少0.83%,占公司总资产比重下降0.84个百分点;应收账款较上年末增加9.43%,占公司总资产比重上升0.80个百分点;货币资金余额较上年末减少5.41%,占公司总资产比重下降0.37个百分点;固定资产较上年末减少1.66%,占公司总资产比重下降0.15个百分点。

负债重大变化方面,截至2023年二季度末,公司应付账款较上年末减少15.16%,占公司总资产比重下降1.91个百分点;一年内到期的非流动负债较上年末减少26.12%,占公司总资产比重下降1.71个百分点;长期借款较上年末增加3.98%,占公司总资产比重上升0.86个百分点;应付债券较上年末增加31.58%,占公司总资产比重上升1.10个百分点。

从存货变动来看,截至2023年上半年末,公司存货账面价值为13.72亿元,占净资产的4.81%,较上年末增加2061.19万元。其中,存货跌价准备为104.12万元,计提比例为0.08%。

偿债能力方面,公司2023年二季度末资产负债率为62.44%,相比上年末减少0.85个百分点;有息资产负债率为40.94%,相比上年末增加1.18个百分点。

2023年上半年,公司流动比率为0.95,速动比率为0.90。

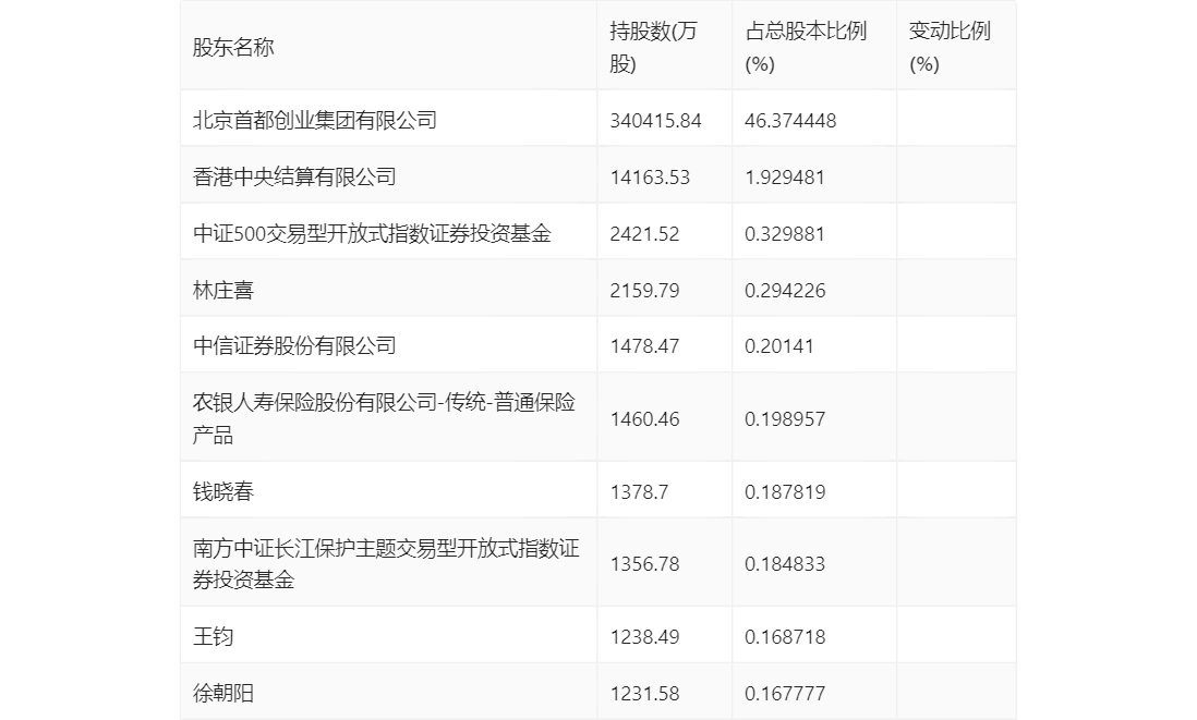
半年报显示,2023年上半年末的公司十大流通股东中,新进股东为徐朝阳,取代了一季度末的全国社保基金四一二组合、易方达中证长江保护主题交易型开放式指数证券投资基金。在具体持股比例上,农银人寿保险股份有限公司-传统-普通保险产品、钱晓春持股有所上升,香港中央结算有限公司、中证500交易型开放式指数证券投资基金、南方中证长江保护主题交易型开放式指数证券投资基金持股有所下降。

筹码集中度方面,截至2023年二季度末,公司股东总户数为19.53万户,较一季度末下降了5600户,降幅2.79%;户均持股市值由一季度末的10.85万元下降至10.83万元,降幅为0.18%。

指标注解:
市盈率
=总市值/净利润。当公司亏损时市盈率为负,此时用市盈率估值没有实际意义,往往用市净率或市销率做参考。
市净率
=总市值/净资产。市净率估值法多用于盈利波动较大而净资产相对稳定的公司。
市销率
=总市值/营业收入。市销率估值法通常用于亏损或微利的成长型公司。
文中市盈率和市销率采用TTM方式,即以截至最近一期财报(含预报)12个月的数据计算。市净率采用LF方式,即以最近一期财报数据计算。
市盈率为负时,不显示当期分位数,会导致折线图中断。